Řekněte někomu, že máte na střeše svého domu solární panely, a pravděpodobně dostanete spoustu otázek typu, kolik panelů že to vlastně máte nebo jak velký je váš systém. Většina lidí bude jmenovitý výkon vašeho systému posuzovat a hodnotit tak trochu oklikou. Možná se asi zeptají, jak účinné takové panely jsou, budete‑li stále připojeni k síti, nebo na kolik vás celý systém vyšel. Vše to jsou naprosto logické otázky, nicméně budete‑li jako já a chcete věc vysvětlit nejprve jako celek, a minimalizovat přitom počet otázek, zkuste začít rozhovor objasněním toho, kolik energie spotřebujete a také vyrábíte. Z hlediska spotřeby elektřiny, nebo též její výroby, se totiž na rozdíl od výkonu bude jednat o konečné a nefalšované měřítko jakéhokoli systému.
Monitorování energie přináší podobné výhody i v řadě dalších aplikací, nejen těch solárních. S příručními elektroměry, jejich modely osazovanými do stojanu nebo též variantami in‑line se potkáváme na každém kroku. Vedoucím např. pomohou s vysledováním a přídělem energií pro nejrůznější zařízení nebo rovnou celá oddělení. Může to rovněž zahrnovat vytvoření profilu zátěže, kdy porovnáváme model předpokládaného odběru s aktuálním stavem a vypíchneme oblasti, které nás budou pro své odchylky zajímat. Popisem zátěží pak dokážeme stanovit, co vše, včetně světel, výpočetní techniky nebo baterií, může být v daném okamžiku k systému připojeno. Jízdní kola a vozidla s elektromotory mohou zase hlásit svou spotřebu vztaženou na jeden kilometr a vyčíslit při tom energii odebranou, resp. navrácenou, zpět do baterie.
Aplikací pro monitorování energií bude sice hodně, integrovaných obvodů sloužících ke stejnému účelu však na trhu najdeme vyloženě málo. Řada vývojářů si musela vystačit s integrovanými obvody, jako je např. 100 V Power Monitor LTC2945 od firmy Linear Technology, zatímco mikroprocesor sledoval jak výkon, tak i čas a rovněž počítal energii. Přestože zde není vyžadován složitý program, hlavním nedostatkem takového řešení jsou omezené možnosti výpočtů. Elegantnějším řešením se pak stává 100 V Energy Monitor LTC2946 od stejného výrobce umožňující přímá měření energií, kdy si uživatelé mohou zvolit svůj vlastní snímací rezistor. Problém však nastává při měření větších proudů. A pak zde máme dlouho očekávaný obvod od Linear Technology, Energy Monitor LTC2947 s integrovaným snímacím rezistorem (30 A), který dnes umožňuje neobyčejně prakticky řešit sledování energií, a to i v případě těch nejnáročnějších aplikací.
Budeme‑li v návrzích s integrovanými obvody pro sledování výkonu či energie počítat se snímacím rezistorem pro jejich proudovou část, jeho výpočet zpravidla nepředstavuje žádný problém. Využijeme prostě Ohmova zákona, takže vezmeme plný napěťový rozsah našeho převodníku, který vydělíme zatěžovacím proudem. Pak už jen navštívíme stránky svého oblíbeného dodavatele elektronických součástek, abychom zjistili, jaké skutečné velikosti odporu máme k dispozici. Docela jednoduché, avšak až do okamžiku, než začneme měřit dvojnásobné odběry.
Ilustrujme si to na příkladu obvodu LTC2946, celým názvem „Wide Range I²C Power, Charge and Energy Monitor“, s plným napěťovým rozsahem přibližně 100 mV. Použijeme‑li LTC2946 k měření úrovně 30 A, potřebujeme snímací rezistor o velikosti 3,3 mΩ, který je sice snadno k dispozici, zato se ale na něm bude muset ztratit 2,9 W! Jen velmi málo lidí na světě, pokud vůbec někdo, by bylo ochotno platit za jednoduché měření energií tak velkou výkonovou ztrátou. Protože se dále jedná o vysoká čísla, nemůže být takové pouzdro podle všeho už vůbec „standardního typu“ a bude pěkně drahé. V Digi‑Key např. prodávají 5W snímací rezistor Vishay s odporem 3,3 mΩ ± 1 % (CSM3637P), viz obr. 1a, který při odběru 1000 kusů dostaneme za 6,9 dolarů! Z prvku o rozměrech 6 × 3 × 0,6 mm (Bulk Metal® Foil) se tak v podstatě stává 5W chladič, který nemusí být jednoduché osadit na desku.
Použijeme‑li nyní obvod LTC2946 k měření menších proudů, řekněme na úrovni 6 A, budeme potřebovat snímací rezistor 16 mΩ a z hlediska výkonové ztráty bychom se mohli dostat na „snesitelnějších“ 0,57 W. Digi‑Key nabízí snímací rezistor ERJ8CW (16 mΩ ± 1 %, 1 W) od společnosti Panasonic, viz obr. 1b, s rozumnou cenou 0,09 dolaru platnou při odběru 1000 kusů. Drobné pouzdro typu 1206 měří 3,2 × 1,6 × 0,65 mm, snadno je osadíme a nemělo by nám ani příliš zvednout zastavěnou plochu na desce. Spíše se však bude jednat o řešení pro monitorování energií pracující s teplotním rozsahem od ‑40 °C až do +85 °C a přesností 2,4 %, což některým aplikacím již nemusí vyhovovat. 2,4 % přitom nezahrnuje jakékoli odchylky spojené s vlivem termočlánku vytvořeného vnějšími spoji, tzn. vývody a trasami na desce, mezi obvodem LTC2946 a snímacím rezistorem.

Obr. 1 a) obvod LTC2946 měřicí energii s proudem 30 A a využitím snímacího rezistoru 3,3 mΩ; b) obvod LTC2946 měřicí energii s proudem 6 A a využitím snímacího rezistoru 16 mΩ
Ať již tedy budeme měřit na úrovních 30 A, nebo jen 6 A, jednouchou alternativou k obvodům LTC2946 může být Energy Monitor LTC2947 zachycený na obr. 2, který v sobě integruje snímací rezistor 300 μΩ. Vylučuje tak starosti spojované s nasazením vnějších rezistorů při měření vysokých proudů – jedná se o ztrátový výkon, přesnost, teplotní drift a také otázku fyzických rozměrů součástky. Budeme‑li měřit na plném rozsahu proudu 30 A, dostáváme na vestavěném snímacím rezistoru obvodu LTC2947 úbytek napětí pouze 10 mV, což odpovídá výkonové ztrátě přibližně jen čtvrt wattu nebo 10 mW, pokud uvažujeme úroveň 6 A. Vedle nízkých ztrát struktura nabídne též velký dynamický rozsah díky svému malému offsetu jen –9 mA nebo 2,7 μV. Teplotně kompenzované odečty energií jsou při pokojové teplotě zaručeny s přesností 1,2 %, zatímco v rámci celého provozního teplotního rozsahu od –40 °C až do +85 °C se dostaneme na 1,5 %. Pouzdro LTC2947 typu QFN s 32 vývody o rozměrech 4 x 6 mm bude dále vhodně nahrávat návrhům s omezeným prostorem.

Obr. 2 Obvod LTC2947 pro sledování výkonu či energie s vestavěným snímacím rezistorem
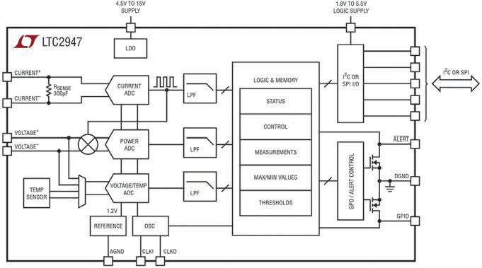
S obvodem LTC2947 změříme spoustu parametrů – proud, napětí, výkon, náboj, energii, teplotu a rovněž i čas, viz také blokový diagram na obr. 3. Struktura využívá trojice A/D převodníků typu ΔΣ, kdy dva z nich budou měřit napětí a proud, zatímco třetí ADC stanovuje výkon. Ve spojitém režimu „Continuous“ A/D převodníky neustále souběžně měří proud, napětí, výkon a teplotu, a příslušné vnitřní registry aktualizují každých 100 ms. V rámci jednorázového režimu „Single Shot“ dochází ke spuštění jedné série měření. Pokud nejsou potřeba žádná měření, LTC2947 vstupuje buď do režimu „Shutdown“, kde dochází ke snížení celkového odběru proudu na méně než 10 μA, nebo módu „Idle“, kdy veškeré struktury zůstanou aktivní a připravené ke vstupu do spojitého režimu, jednorázového režimu či módu Shutdown.

Obr. 3 Blokový diagram obvodu LTC2947
Za měřením energií s přesností 1,3 % stojí v případě obvodů LTC2947 ve skutečnosti právě jedinečný způsob jeho výpočtu výkonu. Na rozdíl od stávajících obvodů pro sledování výkonu, kdy tuto veličinu násobíme s rychlostí převodu ADC, bude LTC2947 pro dosažení maximální přesnosti měřeného výkonu využívat specifického postupu. Každý ze tří A/D převodníků zde totiž slouží konkrétnímu účelu. První ADC měří proudy v rozsahu od –30 A až do +30 A a využívá při tom nepřetržité kalibrace offsetu. Zajistí tak, že všechny vstupní vzorky budou průměrovány rovnoměrně a nepřijdeme též o žádný ze vzorků.
Druhý A/D převodník měří jak vnitřní teplotu, tak též rozdílová napětí, a to ve stejném čase, kdy první ADC měří proud. Teplotu pak nejenže hlásí dále, ale využívá ji též interně, a to ke kompenzaci teplotního driftu vestavěného rezistoru pro snímání proudu. Přispívá tím k dalšímu zvýšení přesnosti měření proudu. Nasazení v řadě různých systémů bude dále nahrávat pracovní rozsah 0 V až 15 V (rail‑to‑rail). A nepůjde pouze o absolutní maximum napájecího napětí 20 V nebo dostatečný prostor snímacích vývodů pro 12V aplikace. Při monitorování proudových úrovní během zkratu nebo výpadku oceníme rovněž možnost sledování s nulovým napětím. Proudové úrovně při poruše s nulovým napětím mohou okamžitě ukázat na problémy s napájecím zdrojem nebo zátěží, a to bez dalších přídavných obvodů.
„Tajná přísada“ obvodů LTC2947 pro měření výkonu a také energií ale opravdu spočívá až ve třetím A/D převodníku násobícím proud spolu s napětím na vzorkovacím kmitočtu 5 MHz, dříve než dojde k jakémukoli průměrování převodu. Jak víte, v typickém integrovaném obvodu pro monitorování výkonu či energie budou k měření jak napětí, tak i proudu sloužit jeden nebo dva A/D převodníky, jejichž výsledky se pak násobí a dostáváme výkon. Protože se však obvykle využijí ADC typu ΔΣ, budou násobené hodnoty ve své podstatě průměry proudu a také napětí, což bude při stanovení výkonu pokaždé přispívat k určité chybě. Místo toho, aby násobil již průměrované údaje, bude obvod LTC2947 počítat se surovými hodnotami proudu a napětí před decimací, a teprve pak převede výsledek. Struktuře to umožní přesné měření výkonu s uvážením změn proudu a napětí až do 50 kHz, což zdaleka přesahuje příslušnou frekvenci. Taková situace může nastat, pokud např. odebíráme výkon z baterie s výraznou impedancí.
Obr. 4 zachycuje příklad průběhu proudu a napětí, které během 20 μs změní svou velikost. Také zde vidíme, k jak odlišným výsledkům se můžeme při výpočtu výkonu dostat s běžnými integrovanými obvody pro sledování výkonu či energií ve srovnání se strukturou LTC2947. Typický obvod při monitorování počítá výkon tak, že mezi sebou násobí průměrnou velikost proudu a také napětí. V případě LTC2947 se však k výslednému výkonu dopracujeme přes průměr vynásobených vzorků, v našem případě dvou. Výsledek získaný obvodem LTC2947, 102 W, bude lépe odpovídat skutečnému stavu, zatímco s „typickým“ obvodem pro sledování výkonu a energií a jeho 110 W dostáváme chybu při stanovení výkonu na úrovni 7,8 %. LTC2947 se takové chybě vyhýbá a svou přesnost si uchovává i pro signály s kmitočtem 50 kHz.

Obr. 4 Příklad stanovení výkonu s typickým obvodem ve srovnání s přístupem LTC2947
Protože náboj odpovídá velikosti proudu spotřebovaného v čase a energie pak množství výkonu v čase, integruje obvod LTC2947 proud a také výkon v čase a počítá na tomto základě náboj a energii tekoucí do zátěže nebo též z ní. Rovněž bude sledovat celkový nahromaděný čas použitý při integraci, kdy časovou základnu může zajistit buď vnitřní takt s přesností 1 %, nebo vnější zdroj 100 kHz až 25 MHz. Vyčíslení náboje může být užitečné především v aplikacích s bateriemi, kde tvoří právě jednu z řady nutných podmínek k přesnému stanovení stavu nabití článku (SOC). Dále máme v rámci běžných každodenních aktivit k dispozici též údaje o množství energie. Místo toho, abychom spoléhali na statické odečty výkonu, využijeme spíše znalosti dynamického zatěžování.
Obvody LTC2947, to je zároveň spousta praktických a digitálně řešených funkcí, které nám zjednodušují návrh. Na první pohled nás upoutá přítomnost násobičky a akumulátoru zajišťujících 24bitové hodnoty výkonu, resp. 48 bitů pro energii a náboj. Připojenému zařízení tak mohou odlehčit od dotazů na velikost proudu a napětí, včetně provádění dodatečných výpočtů. Díky samostatnému napájení digitální části v rozmezí od 1,8 V až do 5,5 V mohou zase logické úrovně pracovat s napětím odlišným od monitorovaného napájení.
Nechybí zde ani registry minima a maxima proudu, napětí, výkonu a teploty, se kterými vyloučíme potřebu neustálého softwarového dohledu, a uvolníme tak sběrnici spolu s procesorem pro další úlohy. Kromě detekce a ukládání minimálních a maximálních hodnot bude mít obvod LTC2947 též registry prahových úrovní, s nimiž dokážeme vydat výstrahu v případě překročení nějaké hladiny, a zároveň mikroprocesor opět zbavit povinnosti neustále zkoumat stav našeho obvodu a získaná data analyzovat. LTC2947 můžeme rovněž nakonfigurovat tak, aby vytvářel upozornění na přetečení poté, co již bylo dodáno předepsané množství energie nebo náboje, příp. vypršel nastavený čas. V případě sledování energií může mít odezva na upozornění stejnou hodnotu jako registry minima a maxima, takže máme k dispozici samostatný registr umožňující uživateli zvolit, jaké parametry budou hlášeny ve shodě s protokolem SMBus, kde dochází k vysílání ARA (Alert Response Address) a vývod (ALERT) je stažen k zemi, a oznamuje tak procesoru varování.
Ke komunikaci s okolním světem mohou v případě LTC2947 uživatelé prostřednictvím pinu zvolit standardní rozhraní SPI či I²C. K dispozici je šest adres I²C, takže v rámci stejného systému dokážeme snadno zapracovat i větší počet těchto obvodů. Časovač resetu zablokované sběrnice pak resetuje interní stavový automat I²C s cílem pokračovat v běžné komunikaci poté, co byly z nějakého důvodu drženy signály sběrnice na nízké úrovni déle než 50 ms, a byla tak splněna podmínka pro blokování. Tento žádaný ochranný prvek pak brání procesoru v „manuálním“ řešení problémů na zablokované sběrnici, které může skončit nežádoucím, nákladnějším a časově náročnějším resetem systému. Obvody LTC2947 rovněž poskytují dělenou datovou linku I²C, která prakticky vyloučí potřebu splitterů nebo slučovačů pro obousměrné vysílání a příjem dat napříč izolační bariérou.
V podobě obvodu LTC2947 dostáváme praktické řešení na úrovni desky plošného spoje pro sledování energií, které v sobě integruje snímací rezistor o velikosti 300 μΩ, a my se tak vyhneme obvyklým problémům spojeným s vnějšími rezistory vyskytujícím se právě při měření vyšších odběrů. Ať již půjde o jakoukoli úroveň proudu, s trojicí speciálně navržených A/D převodníků dostaneme velmi přesné údaje o velikosti proudu, napětí, výkonu, energii, náboji, teplotě nebo též času. Díky proudovému rozsahu od –30 A až do +30 A a napěťovému pak od 0 V až do 15 V může LTC2947 pracovat v celé řadě aplikací, a to včetně těch s obousměrnými proudy. Pokročilé možnosti analogové části se pak vhodně doplňují s digitálními strukturami navrženými tak, aby odlehčily připojenému procesoru: násobičkou, akumulátorem, registry minima a maxima, konfigurovatelnými výstrahami a také velmi schopným rozhraním SPI nebo I²C. S velikostí zastavěné plochy na desce jen 24 mm² se tak z nabídky obvodů pro sledování výkonu od společnosti Linear Technology stává LTC2947 stále nejrozumnější volbou.